Odporové snímače teplot bez jímky
- 121-240 PtTI
Odporový snímač teploty bez jímky pro průmyslové použití s převodníkem T/I.
Více informací o produktu:
- Popis produktu
- Použití
- Materiál a povrchová úprava
- Montáž a připojení
- Pracovní podmínky
- Technické parametry snímače
- Technická data převodníku
- Způsob objednávání
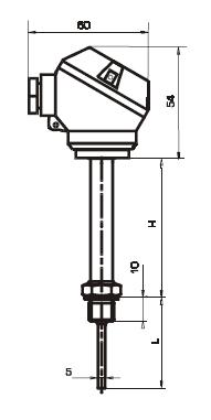
- Obr. 1: Rozměrový výkres snímače
- Obr. 2: Zapojení snímače do měřicího obvodu
Odporový snímač teploty bez jímky pro průmyslové použití s převodníkem T/I
Vodiče z měřicí vložky jsou vedeny do hlavice z hliníkové slitiny s převodníkem a výstupní svorkovnicí. Snímač je opatřen šroubením pro upevnění do příslušné armatury. Převodník pracuje jako pasivní vysílač v proudové smyčce. Výstupní signál je lineární s teplotou. Signál z odporového teplotního snímače Pt 100 je přiveden do převodníku dvouvodičově. Výstup převodníku slouží zároveň k jeho napájení. Je vyráběna celá řada měřicích rozsahů. Standardně vyráběné měřicí rozsahy jsou uvedeny v objednací tabulce v tomto katalogovém listu. Po dohodě s výrobcem je možno vyrobit i jiné měřicí rozsahy. Převodník není vybaven galvanickým oddělením.
Odporový snímač teploty je určen pro dálkové měření teploty tekutin, páry, vzduchu a jiných médií v teplotním intervalu -50 až +200°C v průmyslu. Výstup ze snímače je normalizovaný 4 ÷ 20 mA.
Hlavice je ze slitiny hliníku, lakována. šroubení je z oceli tř.17, Stonková trubka měřicí vložky je z oceli 17 240 (odpovídá W.Nr. 1.4301 dle DIN).
Činnost podle této statě smí vykonávat pracovníci alespoň znalí dle §5 vyhlášky 50/1978 Sb., resp. 51/1978 Sb. Snímač teploty s převodníkem MODEL 121- 240 PtTI se upevňuje šroubováním do armatury pomocí závitu M12x1,5 ( G 1/4″ ). K utěsnění se použije těsnící podložka dodávaná se snímačem. Dotažení se provede pomocí stranového klíče OK 19 . Nedotahovat snímač za hlavici! Připojovací kabely se provlečou těsnící průchodkou a vývody se zapojí dle obr.2. Vnitřní průměr těsnění musí odpovídat průměru kabelu. Těsnící průchodka kabelu se dokonale utáhne pomocí stranového klíče OK 17. Nakonec se přišroubuje krycí víčko. Doporučuje se orientovat hlavici snímače tak, aby průchodka kabelu nebyla orientována směrem nahoru.
| Pracovní podmínky: | |
| Teplota okolního prostředí | -20 až +70°C |
| Relativní vlhkost | do 95% (při teplotě okolí +40°C) |
| Atmosférický tlak | 84 až 107 kPa |
Snímače se mohou umístit v libovolné poloze tak, aby vývodka nebyla situována směrem nahoru.
Snímač je možno použít pro maximální teplotu měřeného média +200°C.
| Technické parametry snímače: | |
| – Teplotní senzor | Pt 100 dle ČSN 25 8306 (DIN 43 760, IEC 751) |
| – Zapojení senzoru | dvouvodičově |
| – Třída přesnosti | B dle ČSN 25 8306 (IEC 751) |
| – Přesnost čidla Pt 100B | Dt = ±(0.30 + 0.005 x |t|) [°C] |
| – Celková chyba snímače | je dána součtem chyb čidla teploty a převodníku |
| – Izolační odpor v normálním prostředí | min. 20 M Ωů |
| – Elektrická pevnost izolace | 500 V / 50 Hz |
| – Krytí svorkovnice | IP 54 |
| – Přípustný průřez připojovacích vodičů | 0,35 až 1,5 mm⊃; |
| – Provozní tlak snímače | PN 16 |
| Technická data převodníku: | ||
| – napájecí napětí převodníku | 12 až 30 VDC (ochrana proti přepólování napájecího napětí) | |
| – max. hodnota zatěžovacího odporu v proudové smyčce při Vs = 24 V DC |
600 Ω | |
| – výstupní signál | 4 až 20 mA | |
| – linearizace | průběh R/T je linearizován | |
| – proud protékající čidlem teploty | < 1 mA | |
| – proud při přerušení čidla teploty | < 28 mA | |
| – proud při zkratu čidla teploty | < 3,9 mA | |
| – chyby (ČSN IEC 770) | – základní chyba | 0.1% |
| – hystereze | 0.02% | |
| – opakovatelnost | 0.03% | |
| – linearita | 0.04% | |
| – teplotní závislosti (ČSN IEC 770) | – chyba nuly | 0.1% / 10K |
| – chyba rozpětí | 0.1% / 10K | |
| – max. chyba | 0.2% / 10K | |
| – napěťové závislosti (ČSN IEC 770) | < 0,008% / 1V | |
| – vliv zatěžovacího odporu | < 0.01% / 100 Ω | |
| – odolnost proti rušení | dle IEC 801 | |
| – dlouhodobá stabilita a drift převodníku | 0.006% / 500 hodin | |
| – měřicí rozsahy | viz. Objednací tabulka | |
| Způsob objednávání: | |
| V objednávce se uvádí: | – název |
| – počet kusů | |
| – objednací číslo dle tabulky (viz 4. strana kat. listu) | |
| Příklad objednávky: | Odporový snímač teploty bez jímky MODEL 121-240 PtTI 6ks |
| obj. č.: 121- 240 150 250 1 0 ÷ +100°C | |


- 121-Ni1000
Odporový snímač teploty bez jímky pro průmyslové použití.
Více informací o produktu:
- Popis produktu
- Použití
- Materiál a povrchová úprava
- Montáž a připojení
- Pracovní podmínky
- Technické parametry snímače
- Způsob objednávání
- TAB. 1: Časová konstanta snímače teploty
- TAB. 2: maximální rychlost proudění měřícího média
- TAB. 3: Odolnost a stálost proti vibracím
- Obr. 1: Rozměrový výkres snímače
- Obr. 2: Zapojení snímače do měřicího obvodu
Odporový snímač teploty bez jímky pro průmyslové použití
Vodiče z měřicí vložky jsou vedeny do hlavice z hliníkové slitiny s výstupní svorkovnicí. Snímač je opatřen šroubením pro upevnění snímače do příslušné armatury. Výstupní signál odpovídá DIN 43 760. Signál z odporového teplotního snímače Ni 1000 je přiveden do svorkovnice dvouvodičově.
Odporový snímač teploty je určen pro dálkové měření teploty tekutin, páry, vzduchu a jiných médií v teplotním intervalu -50 až +150°C v průmyslu.
Hlavice je ze slitiny hliníku, lakována. šroubení je z oceli tř.17, leštěn. Stonková trubka měřicí vložky je z oceli 17 240 (odpovídá W.Nr. 1.4301 dle DIN).
Činnost podle této statě smí vykonávat pracovníci alespoň znalí dle §5 vyhlášky 50/1978 Sb., resp. 51/1978 Sb. Snímač teploty MODEL 121 – Ni 1000 se upevňuje šroubováním do armatury pomocí závitu M12x1,5 ( G 1/4″ ). K utěsnění se použije těsnící podložka dodávaná se snímačem. Dotažení se provede pomocí stranového klíče OK 19. Nedotahovat snímač za hlavici! Připojovací kabely se provlečou těsnící průchodkou a vývody se zapojí dle obr.2. Vnitřní průměr těsnění musí odpovídat průměru kabelu. Těsnící průchodka kabelu se dokonale utáhne pomocí stranového klíče OK 17. Nakonec se přišroubuje krycí víčko. Doporučuje se orientovat hlavici snímače tak, aby průchodka kabelu nebyla orientována směrem nahoru.
| Pracovní podmínky: | |
| Teplota okolního prostředí | -50 až +100°C |
| Relativní vlhkost | do 95% (při teplotě okolí +40°C) |
| Atmosférický tlak | 84 až 107 kPa |
Snímače se mohou umístit v libovolné poloze tak, aby vývodka nebyla situována směrem nahoru.
Snímač je možno použít pro maximální teplotu měřeného média +150°C.
| Technické parametry snímače: | |
| – Teplotní senzor | Ni 1000 dle DIN 43 760 |
| – Zapojení senzoru | dvouvodičově |
| – Tolerance jmen. odporu čidla v 0°C | 0,2 % dle DIN 43 760 |
| – Izolační odpor v normálním prostředí | min. 20 M Ωů |
| – Elektrická pevnost izolace | 500 V / 50 Hz |
| – Krytí svorkovnice | IP 55 |
| – Přípustný průřez připojovacích vodičů | 0,35 až 1,5 mm⊃; |
| – Provozní tlak snímače | PN 16 |
| Způsob objednávání: | |
| V objednávce se uvádí: | – název |
| – počet kusů | |
| – objednací číslo dle tabulky (viz 3. strana kat. listu) | |
| Příklad objednávky: | Odporový snímač teploty bez jímky MODEL 121- Ni 1000 6ks |
| obj. č.: 121- Ni 1000 150 250 1 | |
| TAB. 1: Časová konstanta snímače teploty | ||||||||
| Délka nástavku | H=150mm | H=400mm | ||||||
| Délka stonku | 160 | 250 | 400 | 630 | 160 | 250 | 400 | 630 |
| vzduch 3 m/s | 95s | 96s | 96s | 97s | 95s | 96s | 96s | 97s |
| vířící voda | 25s | 26s | 26,5s | 34s | 25s | 26,5s | 27s | 35s |
| TAB. 2: maximální rychlost proudění měřícího média | ||||
| Médium | Délka stonku L [mm] | |||
| 160 | 250 | 400 | 630 | |
| vodní pára a vzduch [m/s] | 25 | 25 | 2,5 | 1 |
| voda [m/s] | 3 | 3 | 1,5 | 0,2 |
| TAB.3: Odolnost a stálost proti vibracím | ||||
| Parametry mechanického kmitání | Délka stonku L [mm] | |||
| 160 | 250 | 400 | 630 | |
| frekvence [Hz] | 10 až 500 | |||
| amplituda posuvu [mm] | 0,2 | 0,15 | 0,15 | 0,075 |
| zrychlení [m.s-2] | 29,4 | 19,6 | 19,6 | 9,8 |


- 121-Pt100
Odporový snímač teploty bez jímky pro průmyslové použití.
Více informací o produktu:
- Popis produktu
- Použití
- Materiál a povrchová úprava
- Montáž a připojení
- Pracovní podmínky
- Technické parametry snímače
- Způsob objednávání
- Obr. 1: Rozměrový výkres snímače
- Obr. 2a: Zapojení snímače do měřicího obvodu - dvouvodičově
- Obr. 2b: Zapojení snímače do měřicího obvodu - třívodičově
Odporový snímač teploty bez jímky pro průmyslové použití
Vodiče z měřicí vložky jsou vedeny do hlavice z hliníkové slitiny s výstupní svorkovnicí. Snímač je opatřen šroubením pro upevnění do příslušné armatury. Výstupní signál odpovídá DIN IEC 751. Signál z odporového teplotního snímače Pt 100 je přiveden do svorkovnice dvouvodičově nebo třívodičově.
Odporový snímač teploty je určen pro dálkové měření teploty tekutin, páry, vzduchu a jiných médií v průmyslu v teplotním intervalu -50 a. +200°C.
Hlavice je ze slitiny hliníku, lakována. šroubení je z oceli tř.17, . Stonková trubka měřicí vložky je z oceli 17 240 (odpovídá W.Nr. 1.4301 dle DIN).
Činnost podle této statě smí vykonávat pracovníci alespoň znalí dle §5 vyhlášky 50/1978 Sb., resp. 51/1978 Sb. Snímač teploty MODEL 121- Pt 100 se upevňuje .roubováním do armatury pomocí závitu M12x1,5 ( G 1/4 “ ). K utěsnění se použije těsnící podložka dodávaná se snímačem. Dotažení se provede pomocí stranového klíče OK 19. Nedotahovat snímač za hlavici! Připojovací kabely se provlečou těsnící průchodkou a vývody se zapojí dle obr.2. Vnitřní průměr těsnění musí odpovídat průměru kabelu. Těsnící průchodka kabelu se dokonale utáhne pomocí stranového klíče OK 17. Nakonec se přišroubuje krycí víčko. Doporučuje se orientovat hlavici snímače tak, aby průchodka kabelu nebyla orientována směrem nahoru.
| Pracovní podmínky: | |
| Teplota okolního prostředí | -50 až +100°C |
| Relativní vlhkost | do 95% (při teplotě okolí +40°C) |
| Atmosférický tlak | 84 až 107 kPa |
Snímače se mohou umístit v libovolné poloze tak, aby vývodka nebyla situována směrem nahoru.
| Technické parametry snímače: | ||
| – Teplotní senzor | Pt 100 dle ČSN 25 8306 (DIN 43 760, IEC 751) | |
| – Zapojení senzoru | dvouvodičově, třívodičově | |
| – Třída přesnosti | A nebo B dle ČSN 25 8306 (IEC 751) | |
| – Přesnost čidla | Pt100 A | Dt = ±(0.15 + 0.002 x |t|) [°C] |
| Pt100 B | Dt = ±(0.30 + 0.005 x |t|) [°C] | |
| – Izolační odpor v normálním prostředí | min. 20 M Ωů | |
| – Elektrická pevnost izolace | 500 V / 50 Hz | |
| – Krytí svorkovnice | IP 54 | |
| – Přípustný průřez připojovacích vodičů | 0,35 až 1,5 mm⊃; | |
| – Provozní tlak snímače | PN 16 | |
| Způsob objednávání: | |
| V objednávce se uvádí: | – název |
| – počet kusů | |
| – objednací číslo dle tabulky (viz 4. strana kat. listu) | |
| Příklad objednávky: | Odporový snímač teploty bez jímky MODEL 121- Pt 100 6ks |
| obj. č.: 121- Pt 100 150 250 1 A4 2 | |



- 122-240 PtTI
Odporový snímač teploty bez jímky pro průmyslové použití s převodníkem T/I.
Více informací o produktu:
- Popis produktu
- Použití
- Materiál a povrchová úprava
- Montáž a připojení
- Pracovní podmínky
- Technické parametry snímače
- Technická data převodníku
- Způsob objednávání
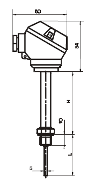
- Obr. 1: Rozměrový výkres snímače
- Obr. 2: Zapojení snímače do měřicího obvodu
Odporový snímač teploty bez jímky pro průmyslové použití s převodníkem T/I
Vodiče z měřicí vložky jsou vedeny do hlavice z hliníkové slitiny s převodníkem a výstupní svorkovnicí. Snímač je opatřen šroubením pro upevnění do příslušné armatury. Převodník pracuje jako pasivní vysílač v proudové smyčce. Výstupní signál je lineární s teplotou. Signál z odporového teplotního snímače Pt 100 je přiveden do převodníku dvouvodičově. Výstup převodníku slouží zároveň k jeho napájení. Je vyráběna celá řada měřicích rozsahů. Standardně vyráběné měřicí rozsahy jsou uvedeny v objednací tabulce v tomto katalogovém listu. Po dohodě s výrobcem je možno vyrobit i jiné měřicí rozsahy. Převodník není vybaven galvanickým oddělením.
Odporový snímač teploty je určen pro dálkové měření teploty tekutin, páry, vzduchu a jiných médií v teplotním intervalu -50 až +200°C v průmyslu. Výstup ze snímače je normalizovaný 4 ÷ 20 mA.
Hlavice je ze slitiny hliníku, lakována. šroubení je z oceli tř.17, Stonková trubka měřicí vložky je z oceli 17 240 (odpovídá W.Nr. 1.4301 dle DIN).
Činnost podle této statě smí vykonávat pracovníci alespoň znalí dle §5 vyhlášky 50/1978 Sb., resp. 51/1978 Sb. Snímač teploty s převodníkem MODEL 121- 240 PtTI se upevňuje šroubováním do armatury pomocí závitu M12x1,5 ( G 1/4″ ). K utěsnění se použije těsnící podložka dodávaná se snímačem. Dotažení se provede pomocí stranového klíče OK 19 . Nedotahovat snímač za hlavici! Připojovací kabely se provlečou těsnící průchodkou a vývody se zapojí dle obr.2. Vnitřní průměr těsnění musí odpovídat průměru kabelu. Těsnící průchodka kabelu se dokonale utáhne pomocí stranového klíče OK 17. Nakonec se přišroubuje krycí víčko. Doporučuje se orientovat hlavici snímače tak, aby průchodka kabelu nebyla orientována směrem nahoru.
| Pracovní podmínky: | |
| Teplota okolního prostředí | -20 až +70°C |
| Relativní vlhkost | do 95% (při teplotě okolí +40°C) |
| Atmosférický tlak | 84 až 107 kPa |
Snímače se mohou umístit v libovolné poloze tak, aby vývodka nebyla situována směrem nahoru.
Snímač je možno použít pro maximální teplotu měřeného média +200°C.
| Technické parametry snímače: | |
| – Teplotní senzor | Pt 100 dle ČSN 25 8306 (DIN 43 760, IEC 751) |
| – Zapojení senzoru | dvouvodičově |
| – Třída přesnosti | B dle ČSN 25 8306 (IEC 751) |
| – Přesnost čidla Pt 100B | Dt = ±(0.30 + 0.005 x |t|) [°C] |
| – Celková chyba snímače | je dána součtem chyb čidla teploty a převodníku |
| – Izolační odpor v normálním prostředí | min. 20 M Ωů |
| – Elektrická pevnost izolace | 500 V / 50 Hz |
| – Krytí svorkovnice | IP 54 |
| – Přípustný průřez připojovacích vodičů | 0,35 až 1,5 mm⊃; |
| – Provozní tlak snímače | PN 16 |
| Technická data převodníku: | ||
| – napájecí napětí převodníku | 12 až 30 VDC (ochrana proti přepólování napájecího napětí) | |
| – max. hodnota zatěžovacího odporu v proudové smyčce při Vs = 24 V DC |
600 Ω | |
| – výstupní signál | 4 až 20 mA | |
| – linearizace | průběh R/T je linearizován | |
| – proud protékající čidlem teploty | < 1 mA | |
| – proud při přerušení čidla teploty | < 28 mA | |
| – proud při zkratu čidla teploty | < 3,9 mA | |
| – chyby (ČSN IEC 770) | – základní chyba | 0.1% |
| – hystereze | 0.02% | |
| – opakovatelnost | 0.03% | |
| – linearita | 0.04% | |
| – teplotní závislosti (ČSN IEC 770) | – chyba nuly | 0.1% / 10K |
| – chyba rozpětí | 0.1% / 10K | |
| – max. chyba | 0.2% / 10K | |
| – napěťové závislosti (ČSN IEC 770) | < 0,008% / 1V | |
| – vliv zatěžovacího odporu | < 0.01% / 100 Ω | |
| – odolnost proti rušení | dle IEC 801 | |
| – dlouhodobá stabilita a drift převodníku | 0.006% / 500 hodin | |
| – měřicí rozsahy | viz. Objednací tabulka | |
| Způsob objednávání: | |
| V objednávce se uvádí: | – název |
| – počet kusů | |
| – objednací číslo dle tabulky (viz 4. strana kat. listu) | |
| Příklad objednávky: | Odporový snímač teploty bez jímky MODEL 122-240 PtTI 6ks |
| obj. č.: 122- 240 150 250 1 0 ÷ +100°C | |


- 122-Ni1000
Odporový snímač teploty bez jímky pro průmyslové použití.
Více informací o produktu:
- Popis produktu
- Použití
- Materiál a povrchová úprava
- Montáž a připojení
- Pracovní podmínky
- Technické parametry snímače
- Způsob objednávání
- Obr. 1: Rozměrový výkres snímače
- Obr. 2: Zapojení snímače do měřicího obvodu
Odporový snímač teploty bez jímky pro průmyslové použití
Vodiče z měřicí vložky jsou vedeny do hlavice z hliníkové slitiny s výstupní svorkovnicí. Snímač je opatřen šroubením pro upevnění snímače do příslušné armatury. Výstupní signál odpovídá DIN 43 760. Signál z odporového teplotního snímače Ni 1000 je přiveden do svorkovnice dvouvodičově.
Odporový snímač teploty je určen pro dálkové měření teploty tekutin, páry, vzduchu a jiných médií v teplotním intervalu -50 až +150°C v průmyslu.
Hlavice je ze slitiny hliníku, lakována. Nástavek je z oceli tř.17, leštěn. Stonková trubka měřicí vložky je z oceli 17 240 (odpovídá W.Nr. 1.4301 dle DIN).
Činnost podle této statě smí vykonávat pracovníci alespoň znalí dle §5 vyhlá.ky 50/1978 Sb., resp. 51/1978 Sb. Snímač teploty MODEL 122 – Ni 1000 se upevňuje šroubováním do armatury pomocí závitu M12x1,5 ( G 1/4″ ). K utěsnění se použije těsnící podložka dodávaná se snímačem. Dotažení se provede pomocí stranového klíče OK 19. Nedotahovat snímač za hlavici! Připojovací kabely se provlečou těsnící průchodkou a vývody se zapojí dle obr.2. Vnitřní průměr těsnění musí odpovídat průměru kabelu. Těsnící průchodka kabelu se dokonale utáhne pomocí stranového klíče OK 17. Nakonec se přišroubuje krycí víčko. Doporučuje se orientovat hlavici snímače tak, aby průchodka kabelu nebyla orientována směrem nahoru.
| Pracovní podmínky: | |
| Teplota okolního prostředí | -50 až +100°C |
| Relativní vlhkost | do 95% (při teplotě okolí +40°C) |
| Atmosférický tlak | 84 až 107 kPa |
Snímače se mohou umístit v libovolné poloze tak, aby vývodka nebyla situována směrem nahoru.
Snímač je možno použít pro maximální teplotu měřeného média +150°C.
| Technické parametry snímače: | |
| – Teplotní senzor | Ni 1000 dle DIN 43 760 |
| – Zapojení senzoru | dvouvodičově |
| – Tolerance jmen. odporu čidla v 0°C | 0,2 % dle DIN 43 760 |
| – Izolační odpor v normálním prostředí | min. 20 M Ωů |
| – Elektrická pevnost izolace | 500 V / 50 Hz |
| – Krytí svorkovnice | IP 55 |
| – Přípustný průřez připojovacích vodičů | 0,5 až 2,5 mm⊃; |
| – Provozní tlak snímače | PN 16 |
| Způsob objednávání: | |
| V objednávce se uvádí: | – název |
| – počet kusů | |
| – objednací číslo dle tabulky (viz 3. strana kat. listu) | |
| Příklad objednávky: | Odporový snímač teploty bez jímky MODEL 122- Ni 1000 6ks |
| obj. č.: 122- Ni 1000 150 250 1 | |


- 122-Pt100
Odporový snímač teploty bez jímky pro průmyslové použití.
Více informací o produktu:
- Popis produktu
- Použití
- Materiál a povrchová úprava
- Montáž a připojení
- Pracovní podmínky
- Technické parametry snímače
- Způsob objednávání
- Obr. 1: Rozměrový výkres snímače
- Obr. 2a: Zapojení snímače do měřicího obvodu - dvouvodičově
- Obr. 2b: Zapojení snímače do měřicího obvodu - třívodičově
Odporový snímač teploty bez jímky pro průmyslové použití
Vodiče z měřicí vložky jsou vedeny do hlavice z hliníkové slitiny s výstupní svorkovnicí. Nástavek je opatřen šroubením pro upevnění snímače do příslušné armatury. Výstupní signál odpovídá DIN IEC 751. Signál z odporového teplotního snímače Pt 100je přiveden do svorkovnice dvouvodičově, třívodičově nebo čtyřvodičově.
Odporový snímač teploty je určen pro dálkové měření teploty tekutin, páry, vzduchu a jiných médií v průmyslu v teplotním intervalu -50 až +200°C.
Hlavice je ze slitiny hliníku, lakována. šroubení je z oceli tř.17,. Stonková trubka měřicí vložky je z oceli 17 240 (odpovídá W.Nr. 1.4301 dle DIN).
Činnost podle této statě smí vykonávat pracovníci alespoň znalí dle §5 vyhlášky 50/1978 Sb., resp. 51/1978 Sb. Snímač teploty MODEL 122- Pt 100 se upevňuje šroubováním do armatury pomocí závitu M12x1,5 ( G 1/4 “ ). K utěsnění se pou.ije těsnící podložka dodávaná se snímačem. Dotažení se provede pomocí stranového klíče OK 19. Nedotahovat snímač za hlavici! Připojovací kabely se provlečou těsnící průchodkou a vývody se zapojí dle obr.2. Vnitřní průměr těsnění musí odpovídat průměru kabelu. Těsnící průchodka kabelu se dokonale utáhne pomocí stranového klíče OK 17. Nakonec se přišroubuje krycí víčko. Doporučuje se orientovat hlavici snímače tak, aby průchodka kabelu nebyla orientována směrem nahoru.
| Pracovní podmínky: | |
| Teplota okolního prostředí | -50 až +100°C |
| Relativní vlhkost | do 95% (při teplotě okolí +40°C) |
| Atmosférický tlak | 84 až 107 kPa |
Snímače se mohou umístit v libovolné poloze tak, aby vývodka nebyla situována směrem nahoru.
| Technické parametry snímače: | ||
| – Teplotní senzor | Pt 100 dle ČSN 25 8306 (DIN 43 760, IEC 751) | |
| – Zapojení senzoru | dvouvodičově, třívodičově | |
| – Třída přesnosti | A nebo B dle ČSN 25 8306 (IEC 751) | |
| – Přesnost čidla | Pt100 A | Dt = ±(0.15 + 0.002 x |t|) [°C] |
| Pt100 B | Dt = ±(0.30 + 0.005 x |t|) [°C] | |
| – Izolační odpor v normálním prostředí | min. 20 M Ωů | |
| – Elektrická pevnost izolace | 500 V / 50 Hz | |
| – Krytí svorkovnice | IP 54 | |
| – Přípustný průřez připojovacích vodičů | 0,5 až 2,5 mm⊃; | |
| – Provozní tlak snímače | PN 16 | |
| Způsob objednávání: | |
| V objednávce se uvádí: | – název |
| – počet kusů | |
| – objednací číslo dle tabulky (viz 4. strana kat. listu) | |
| Příklad objednávky: | Odporový snímač teploty bez jímky MODEL 122- Pt 100 6ks |
| obj. č.: 122 – Pt 100 150 250 1 A4 2 | |



Kontakty
TRESTON spol. s r.o.
Částkov 40
687 12 Bílovice
+420 572 580 022 (obchodní oddělení)