Senzory teploty
- VJ – Pt 100
Odporový snímač teploty vpichovací.
Více informací o produktu:
- Popis produktu
- Použití
- Materiál a povrchová úprava
- Pracovní podmínky
- Návod k instalaci
- Technické parametry snímače
- Způsob objednávání
- Obr.1: Rozměrový nákres
Odporový snímač teploty vpichovací
Čidlo snímače je uloženo v nerezovém pouzdru na kterém je našroubována teflonová rukojeť. Čidlo je zapojeno dvouvodičoě. Vodič je v provedení s teflonovou izolací.
Odporový snímač teploty vpichovací se používá zejména v potravinářství pro měření teploty potravin při jejich tepelném zpracování.
Pouzdro je z nerezové oceli vhodné pro potravinářství.
| Pracovní podmínky: | |
| Teplota okolního prostředí | -50 až +260°C |
| Atmosférický tlak | 84 až 107 kPa |
Teplotní snímač TSK – Pt 100 -CLAMP se upevňuje do měřícího místa pomocí svorky určené pro montáž.. Pro utěsnění spoje se použije těsnící kroužek. Pracovní poloha snímače je libovolná. Doporučuje se orientovat snímač tak, aby vývodka konektoru nesměřovala směrem nahoru. Před připojením zahnutého konektoru se zásuvkou k nainstalovanému snímači teploty se nejprve nasune těsnicí podložka na vidlici konektoru. Pak se nasune zahnutý konektor na vidlici a přitáhne šroubem v ose konektoru. Vodiče se ve vidlici konektoru připojí dle obr.2.
| Technické parametry snímače: | ||
| – Teplotní senzor | Pt 100 | |
| – Třída přesnosti | B dle ČSN 25 8306 (IEC 751) | |
| – Přesnost čidla | Pt100 B | Dt = ±(0.30 + 0.005 x |t|) [°C] |
| – Teplotní rozsah | -50 až + 260°C | |
| – TCR | 3850 ppm/K | |
| – Izolační odpor v normálním prostředí | min. 20 M Ωů | |
| Způsob objednávání: | |
| V objednávce se uvádí: | – název |
| – počet kusů | |
| – objednací číslo dle tabulky (viz 2. strana kat. listu) | |
| Příklad objednávky: | Odporový snímač teploty vpichovací MODEL VJ – VJ-Pt 100 20 ks |
| obj. č.: VJ – Pt 100 3000 100/150 | |

- TSK – Pt 100 CLAMP
Snímač teploty k zašroubování s konektorem připojení CLAMP.
Více informací o produktu:
- Popis produktu
- Použití
- Návod k instalaci
- Technická data
- Obr.1: Rozměrový nákres
- Obr.2: Zapojení konektoru
Snímač teploty k zašroubování s konektorem připojení CLAMP
Použitý senzor teploty Pt100 je umístěn v pouzdře zalitém teplovodivou hmotou a zakončeném vidlicí konektoru. Senzory Pt jsou zapojeny dvouvodičově, třívodičově nebo čtyřvodičově. Celek je zajištěn převlečnou maticí. Pouzdro i převlečná matice jsou vyrobeny z nerezové oceli.
Snímač teploty s konektorem a připojením CLAMP je vhodný pro měření teploty tekutin v různých oblastech průmyslu, zejména ke kontrole teplotních poměrů sterilizačních procesů ve fermentačních nebo jiných zařízeních bioprocesů, dále pak pro potravinářský průmysl, zdravotnictví a měřící a regulační techniku. Výhodou je možnost odpojení konektoru s přívodními vodiči od namontovaného teplotního čidla. Snímač odolává zvýšeným vibracím.
Teplotní snímač TSK – Pt 100 -CLAMP se upevňuje do měřícího místa pomocí svorky určené pro montáž.. Pro utěsnění spoje se použije těsnící kroužek. Pracovní poloha snímače je libovolná. Doporučuje se orientovat snímač tak, aby vývodka konektoru nesměřovala směrem nahoru. Před připojením zahnutého konektoru se zásuvkou k nainstalovanému snímači teploty se nejprve nasune těsnicí podložka na vidlici konektoru. Pak se nasune zahnutý konektor na vidlici a přitáhne šroubem v ose konektoru. Vodiče se ve vidlici konektoru připojí dle obr.2.
| Technická data: | ||
| – jmenovitý odpor v 0°C | 100 Ω dle DIN IEC 751 | |
| – toleranční pásmo | třída A | ±(0,15 + 0,002|t|) dle DIN IEC 751 |
| třída B | ±(0,30 + 0,005|t|) dle DIN IEC 751 | |
| – dlouhodobá časová stabilita (10000h/150°C) | 0,05% | |
| – teplotní koeficient | 3850 ppm/K dle DIN IEC 751 | |
| – teplotní závislost odporu | -50 až 0°C | R(t) = R(0) . (1+3,90802.10-3.t – 5,802.10-7.t2 – 4,2735.10-12.(t-100).t3) |
| 0 až +150°C | R(t) = R(0) . (1+3,90802.10-3.t – 5,802.10-7.t2) | |
| – čas teplotní odezvy t0,5 vzduch 1 m/s | 40s | |
| – čas teplotní odezvy t0,5 olej 0,2 m/s | 15s | |
| – doporučený průměr kabelu | 3,5 až 6 mm | |
| – max. průřez vodičů pro konektor | 0.75 mm⊃; | |
| – pracovní rozsah teplot pro konektor | -40 až +125°C | |
| – pracovní rozsah teplot měřeného média | -50 až +150°C | |
| – krytí konektoru | IP65 | |
| – materiál pouzdra i převlečné matice | 17248 | |
| – typ CLAMP | DN 40 | |


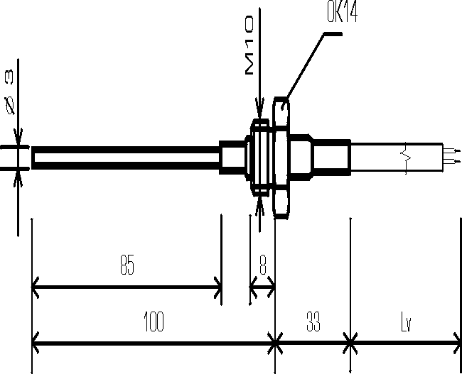
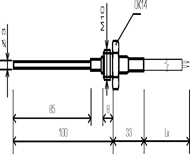
- TSK – Pt
Snímač teploty Pt 100 k zašroubování s konektorem odolný zvýšeným vibracím.
Více informací o produktu:
- Popis produktu
- Použití
- Návod k instalaci
- Technická data
- Obr.1: Rozměrový nákres
- Obr.2: Zapojení konektoru
Snímač teploty k zašroubování s konektorem
Použitý senzor teploty Pt 100 je umístěn v pouzdře zalitém teplovodivou hmotou a zakončeném vidlicí konektoru. Senzory Pt jsou zapojeny dvouvodičově, třívodičově nebo čtyřvodičově. Celek je zajištěn převlečnou maticí. Pouzdro i převlečná matice jsou vyrobeny z mosazi (po dohodě s výrobcem i z nerez oceli 17 248), poniklovány nebo pasivovány.
Standardně se TSK – Pt dodává se závitem M10x1. Po konzultaci s výrobcem je možno dodat TSK – Pt s jiným závitem.
Snímač teploty k zašroubování s konektorem je vhodný pro měření teploty tekutin v různých oblastech průmyslu, např.:, měřící a regulační technika, automobilový průmysl, potravinářský průmysl, klimatizace, vytápění, zdravotnictví, stavebnictví, atd.Výhodou je možnost odpojení konektoru s přívodními vodiči od namontovaného teplotního čidla.Snímač odolává zvýšeným vibracím.
Teplotní snímač TSK – Pt se šroubuje do měřicího místa za šestihran pouzdra klíčem OK22. Pro utěsnění závitu se použije vhodný těsnící materiál, který odolá provozním parametrům měřeného média. Pracovní poloha snímače je libovolná. Doporučuje se orientovat snímač tak, aby vývodka konektoru nesměřovala směrem nahoru. Před připojením zahnutého konektoru se zásuvkou k zašroubovanému snímači teploty se nejprve nasune těsnicí podložka na vidlici konektoru. Pak se nasune zahnutý konektor na vidlici a přitáhne šroubem v ose konektoru. Vodiče se ve vidlici konektoru připojí dle obr.2.
| Technická data: | ||
| – jmenovitý odpor v 0°C | 100 Ω dle DIN IEC 751 | |
| – toleranční pásmo | třída A | ±(0,15 + 0,002|t|) dle DIN IEC 751 |
| třída B | ±(0,30 + 0,005|t|) dle DIN IEC 751 | |
| – dlouhodobá časová stabilita (10000h/150°C) | 0,05% | |
| – teplotní koeficient | 3850 ppm/K dle DIN IEC 751 | |
| – teplotní závislost odporu | -50 až 0°C | R(t) = R(0) . (1+3,90802.10-3.t – 5,802.10-7.t2 – 4,2735.10-12.(t-100).t3) |
| 0 až +150°C | R(t) = R(0) . (1+3,90802.10-3.t – 5,802.10-7.t2) | |
| – čas teplotní odezvy t0,5 vzduch 1 m/s | 40s | |
| – čas teplotní odezvy t0,5 olej 0,2 m/s | 15s | |
| – doporučený průměr kabelu | 3,5 až 6 mm | |
| – max. průřez vodičů pro konektor | 0.75 mm⊃; | |
| – pracovní rozsah teplot pro konektor | -40 až +125°C | |
| – pracovní rozsah teplot měřeného média | -50 až +150°C | |
| – krytí konektoru | IP65 | |


- TERM – KBZ
Termoelektrický izolovaný snímač teploty s kompenzačním vedením.
Více informací o produktu:
Termoelektrický snímač teploty s kompenzačním vedením
Jednoduchý izolovaný termoelektrický snímač typu “K“ v pouzdře z nerez oceli s kompenzačním vedením, o průřezu 2 x 0,5mm. Plášť termočlánku je v mater. provedení INCONEL 600 (2.4816) o průměru 3mm.
Pokud bude snímač teploty vystaven ztíženým podmínkám (mechanické namáhání, vibrace, provoz ve vlhkém prostředí), uveďte tuto skutečnost v objednávce. Na základě vašeho požadavku můžete konzultovat konstrukci snímače vzhledem k jiné provozní teplotě nebo provedení pouzdra jako zákaznický speciál.
Termoelektrický snímač teploty je vhodný pro měření teploty tekutin, páry, vzduchu a jiných médií v různých oblastech průmyslu, např. měřící a regulační technika, automobilový průmysl, potravinářský průmysl, chemický průmysl, oblast zpracování plastu, atd.
Velmi krátký čas teplotní odezvy, malé rozměry.
| Technická data: | |
| Termočlánek | typ K, jednoduchý, izolovaný |
| třída přesnosti 2 dle IEC 584 | |
| Průměr pláště termočlánku | 3 mm |
| Materiál pláště termočlánku | INCONEL 600 (2.4816) |
| Měřící rozsah snímače | -50 ÷ +600 °C |
| Kabel | kompenzační vedení průřez 2 x 0,5mm, silikonová izolace |
| (DIN IEC 584 kl.B), vnější průměr izolace 4,7mm | |
| Pouzdro snímače | nerez ocel 17 240 |

- TERM – KM
Termoelektrický izolovaný snímač teploty s kompenzačním vedením k zašroubování.
Více informací o produktu:
Termoelektrický snímač teploty s kompenzačním vedením
Jednoduchý izolovaný termoelektrický snímač typu “K“ v pouzdře se závitem M10 (vyrobeno z nerez oceli 17 240) s kompenzačním vedením, o průřezu 2 x 0,5mm. Plášť termočlánku je v mater. provedení INCONEL 600 (2.4816) o průměru 3mm.
Pokud bude snímač teploty vystaven ztíženým podmínkám (mechanické namáhání, vibrace, provoz ve vlhkém prostředí), uveďte tuto skutečnost v objednávce. Na základě vašeho požadavku můžete konzultovat konstrukci snímače vzhledem k jiné provozní teplotě nebo provedení pouzdra jako zákaznický speciál.
Termoelektrický snímač teploty je vhodný pro měření teploty tekutin, páry, vzduchu a jiných médií v různých oblastech průmyslu, např. měřící a regulační technika, automobilový průmysl, potravinářský průmysl, chemický průmysl, oblast zpracování plastu, atd.
Velmi krátký čas teplotní odezvy, malé rozměry.
Teplotní snímač TSK – Ni se šroubuje do měřicího místa za šestihran pouzdra klíčem OK22. Pro utěsnění závitu se použije vhodný těsnící materiál, který odolá provozním parametrům měřeného média. Pracovní poloha snímače je libovolná. Doporučuje se orientovat snímač tak, aby vývodka konektoru nesměřovala směrem nahoru. Před připojením zahnutého konektoru se zásuvkou k zašroubovanému snímači teploty se nejprve nasune těsnicí podložka na vidlici konektoru. Pak se nasune zahnutý konektor na vidlici a přitáhne šroubem v ose konektoru. Vodiče se ve vidlici konektoru připojí dle obr.2.
| Technická data: | |
| Termočlánek | typ K, jednoduchý, izolovaný |
| třída přesnosti 2 dle IEC 584 | |
| Průměr pláště termočlánku | 3 mm |
| Materiál pláště termočlánku | INCONEL 600 (2.4816) |
| Měřící rozsah snímače | -50 ÷ +600 °C |
| Kabel | kompenzační vedení průřez 2 x 0,5mm, silikonová izolace |
| (DIN IEC 584 kl.B), vnější průměr izolace 4,7mm | |
| Pouzdro snímače | nerez ocel 17 240 |
Obr.1: Rozměrový nákres

- TERM – KPR
Termoelektrický izolovaný snímač teploty s kompenzačním vedením s pružinou.
Více informací o produktu:
Termoelektrický snímač teploty s kompenzačním vedením
Jednoduchý izolovaný termoelektrický snímač typu “K“ v pouzdře z nerez oceli, zakončeném pružinou, která zvyšuje odolnost vodiče proti ohybu. Kompenzační vedení má průřez 2 x 0,5mm. Plášť termočlánku je v mater. provedení INCONEL 600 (2.4816) o průměru 3mm.
Pokud bude snímač teploty vystaven ztíženým podmínkám (mechanické namáhání, vibrace, provoz ve vlhkém prostředí), uveďte tuto skutečnost v objednávce. Na základě vašeho požadavku můžete konzultovat konstrukci snímače vzhledem k jiné provozní teplotě nebo provedení pouzdra jako zákaznický speciál.
Termoelektrický snímač teploty je vhodný pro měření teploty tekutin , páry, vzduchu a jiných médií v různých oblastech průmyslu, např. měřící a regulační technika, automobilový průmysl, potravinářský průmysl, chemický průmysl, oblast zpracování plastu, atd.
Velmi krátký čas teplotní odezvy, malé rozměry.
| Technická data: | |
| Termočlánek | typ K, jednoduchý, izolovaný |
| třída přesnosti 2 dle IEC 584 | |
| Průměr pláště termočlánku | 3 mm |
| Materiál pláště termočlánku | INCONEL 600 (2.4816) |
| Měřící rozsah snímače | -50 ÷ +600 °C |
| Kabel | kompenzační vedení průřez 2 x 0,5mm, silikonová izolace |
| (DIN IEC 584 kl.B), vnější průměr izolace 4,7mm | |
| Pouzdro snímače | nerez ocel 17 240 |
Kontakty
TRESTON spol. s r.o.
Částkov 40
687 12 Bílovice
+420 572 580 022 (obchodní oddělení)